2021-04-23 08:45:47 来源: 财经新闻网
雪松信托兑付迷局
乐居财经严明会发自南昌
“负责到底、第一责任人”“我们只占70%的股份,但会承担100%的责任”。
两年前,在收购中江信托的媒体见面会上,雪松控股董事局主席张劲的承诺还犹在耳边。
然而转眼间,他却出尔反尔,背弃了自己当初的诺言。
3月31日,这个日子对于一些买入雪松信托产品的投资人十分煎熬。这是雪松承诺的金虎339号、金虎347号延期项目的兑付截止日。他们打官网电话,得到的回复却是冰冷冷的“正在等待领导通知。”
其实早在2020年12月31日,雪松已让这些投资人倍感失望。原本以为是一个欢乐祥和的跨年夜,但多位与雪松信托签署过受益权转让协议的投资人表示,并没有等来雪松信托承诺的本息兑付款。
1月19日,数十名投资者前往雪松信托所在的江西南昌总部维权,雪松信托副总裁李楠表示“本次协议书无效”;直至3月底,仍有投资人反映雪松控股到了最后兑付日,却不承认当初签署的兑付协议。
而理财师对客户私下表示,“现在阻碍兑付的最大困境是第二大股东江西金控……如果兑付,将涉嫌国有资产流失罪。”
不止于金虎339号、金虎347号这两个项目,另有投资人爆料,“雪松信托翻脸不认兑付协议书,逾期本金多达38.09亿元,涉及27个项目。”
一边,深陷兑付迷局;另一边,雪松信托的新产品仍在密集发行中。仅2021年,其官网上就发布了160多款产品成立公告,平均一天1.4个产品。
这不免让外界联想到,当年中江信托就是被激进扩张反噬,踩雷多家网红上市公司,从业绩“黑马”落魄成“雷王”。而雪松信托是否会重蹈前任覆辙?
信托逾期之困
首先来看看此次涉及的金虎339号、金虎347号延期项目。其中,金虎347号资金主要用于实缴天津立诚致远企业管理合伙企业(有限合伙)注册资本,并用于收购天津金吉房地产开发有限责任公司100%股权。
穿透可知,天津金吉由天津立诚致远和江西全球联科技分别持股99%和1%;其中天津立诚的大股东为雪松信托,其持股59.70%。

据乐居财经了解到,天津金吉所持有的天津滨海新区于家堡 03-06 项目(即力勤金融广场项目,原名“天津长和国际项目”),包括了高端酒店公寓、大型商业中心及高端酒店。
针对金虎347号项目,有投资人提出质疑,“如虚假宣传、隐瞒重大事项(北京银行的高额贷款等)的尽调、主动管理的玩忽职守,这么多资金投入,却留下一个烂尾项目。”

进入2021年,天津金吉相继4次被天津市滨海新区人民法院列为“被执行人”,被执行总金额79.4万元。同时,5次被列为失信执行人,7次被列入限制高消费。
更有意思的是,天津金吉最近一次“被限高”的申请人竟然是其“金主”——雪松信托。
另一个,金虎339号项目的资金则用于向深圳汇盈信投资控股有限公司(简称“汇盈信”)发放信托贷款,汇盈信将信托财产进行股权投资、债权投资等。但有投资者反馈,自项目成立以来,雪松信托从未披露具体投向。
据乐居财经查阅获悉,雪松目前持有汇盈信27.33%股权,为第一大股东,该企业对外投资共计7家公司,注册资金在3100万元至5.01亿元不等。
目前,走投无路的投资人正在收集相关证据材料,提交有关监管部门。
雪松信托面临的麻烦已经不仅限于历史遗留项目的处置上,其自主发行的项目也未能够完成兑付。其中长惠77号、长茂7号、长茂33号三个项目,融资方均为华夏幸福,出险时间为2021年3月。
2020年3月,华夏幸福将旗下子公司华夏幸福产业新城(泾阳)有限公司的股权质押予雪松信托,质押数额达10400万元。目前,雪松信托持有华夏幸福产业新城(泾阳)48%股权。

在今年春节前,雪松信托在其官网上发布了长惠77号、长茂7号、长茂33号信托计划临时信息披露报告。此前,雪松信托对其自主发行的长X系列产品发布临时信息披露,极为少见。
临时报告显示,“担保人华夏幸福于 2021年2月2日发布公告称,因受宏观经济环境、行业环境、信用环境叠加多轮疫情影响,出现阶段性紧张,导致出现部分债务未能如期偿还……我公司届时将向委托人/受益人如实披露。”
然而眼下,上述3个临时信息披露报告却已“凭空消失”,在官网上找不到痕迹。但可以确认的是,雪松信托也和诸多银行、信托等金融机构一样,被卷入了华夏幸福债务危局。
不仅仅是华夏幸福,雪松信托还“踩雷”了广厦控股。
2017年,广厦控股曾通过中江信托(后更名雪松信托)发行金鹤263号信托计划募资。但在2019年5月前后,该项目出现逾期。理财师告知乐居财经,“金鹤263号分多期发行,3期以后都延期了,本金只给了一部分。”
扩充地产“朋友圈”
当年收购暴雷的中江信托的雪松控股,一度被外界称之为“白马骑士”。
2018年上半年,雪松信托前身——“明天系”旗下的中江信托陷入兑付危机。彼时,雪松控股挺身而出,受让领锐资管、大连昱辉、天津瀚晟同创和深圳市振辉利合计持有的中江信托71.3005%股权。
一边是深陷泥潭奄奄一息的信托公司,一边是渴望信托牌照的综合产业集团。基于这样的天时地利,雪松控股接下中江信托似乎也是顺理成章。
2019年4月22日,雪松控股受让中江信托71.3005%股权完成工商注册变更。并于同年6月25日正式更名“雪松国际信托股份有限公司”,中江信托自此消失在历史长河中。
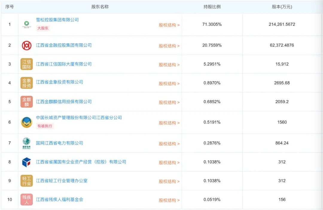
截至目前,雪松信托由10位股东共同持股,前三大股东为雪松控股、江西省金融控股集团有限公司和江西省江信国际大厦有限公司,分别持股71.30%、20.76%和5.30%。张劲为实控人,持股71.30%。
剩余7位股东持股比例均不足1%,其中不乏中国长城资产管理股份有限公司江西省分公司、国网江西省电力有限公司的身影。

关于雪松收购中江信托股权的价格,多来年一直是未解之谜。
张劲曾透露,雪松在收购中江信托前没有尽调,收购后用时约5个月才完成梳理,摸清了中江信托的状况。同时透露,存量逾期信托产品约80亿。
用他一个模板式的说法就是,“收购中江信托的定价机制中,交易对价已包含处置不良的款项,如果不良触发了雪松信托净资产的减少,会相应扣减股权对价款。处置不良是整个中江信托收购的一部分,已经预留了足够的资金来应对这部分不良,整体没有超出我们的预算。”
雪松入主中江信托后,本应以此为鉴,严于风控设计。但从雪松信托此后发行的诸多项目来看,其风控水平并无本质改变。

它一如既往热衷于扩充自己的地产“朋友圈”。据乐居财经不完全统计,雪松信托为恒大、中南、蓝光、侨鑫、颐和地产等房企提供融资。
然而眼下,在去通道、降杠杆、控地产大趋势下,信托业躺赢时代早过去了。在这样的背景下,雪松控股进入信托业,很有可能成为“接盘侠”。
加之,雪松信托面临着逾期项目的兑付压力与日俱增。如若其中一些项目融资方已进入破产程序,因为没有抵押物作为风险抓手,可能造成实质性坏账。
目前,雪松信托2020年报还未出炉。但从张劲接手一年的成绩单看来,并不尽如人意。
2018年末,其总资产(合并口径)49.15亿元,净资产(合并口径)32.55亿元;但2019年,总资产(合并口径)锐减至36.09亿元,净资产(合并口径)锐减至20.49亿元。一年下来,净资产直接蒸发了37%。
另外,雪松信托的不良资产由期初的5.1亿元增至7.89亿元,不良率由11.36%升至28.85%。
有钱拿地,没钱兑付?
1989年,18岁的张劲被深圳大学金融系录取,和马化腾是同届校友。年轻的张劲也是在那时开始炒股,赚到了第一桶金。
本科毕业后,张劲去往香港理工大学攻读硕士。1997年,毗邻深圳的香港正迎来楼市的巅峰。而另一场灾难,也在这狂欢中悄然降临。
东南亚的金融风暴,以迅雷之势,席卷了整个金融业,张劲决定撤出股市,进入房地产。“1997年之前,我们主要的业务都在资本市场,但之后就转到了实业领域。”他回忆道。
随后,张劲一手创立广州君华经济发展有限公司(君华集团前身)。第一个项目,便是收购华达山庄。这原本是个烂尾项目,但在张劲的开发下,后来竟成为君华集团当做重点成果推介的“江南世家”别墅区。
站上地产的风口,他带领着君华集团在广州开发了多个项目。不过,2008年金融危机再次让张劲做出决定,开始收缩地产业务,转而进军消费、金融、金属贸易、汽车销售和大宗商品等领域。
2015年,是张劲人生的转折年。他注册成立雪松资本,并给全体员工发了一封公开信,标题引自李敖的诗句:“当百花凋谢的日子,我将归来开放。”
次年,雪松资本改名为雪松控股。它由广州弘松投资有限公司持股98.35%,张劲持股1.65%。穿透可知,广州弘松投资也由张劲持股100%。所以,雪松控股的实际控制人还是张劲。
事实证明,2008年是中国房地产第二个黄金十年的上升期,张劲的收缩为时尚早;十多年过去,他对于地产的热情仍未退却。
去年年底,广州最大旧改项目黄埔区何棠下村的建设方案获批。根据批复方案可知,负责何棠下村经济联合社拆除改造的,是广州市景腾房地产投资有限公司,而这家公司正是雪松控股(雪松信托大股东)旗下公司。
此前,有投资者透露,雪松控股不兑付给出的理由为,“控股集团因广州旧改拿地耗费了大量资金”。
而在拿地的前一月(2020年11月下旬),雪松控股还将旗下物管企业雪松智联科技集团有限公司(简称“雪松智联”)80%股权转让予一家名为广州祥泰的神秘公司。而广州祥泰疑似广州合景泰富的影子公司。
拆东墙补西墙,张劲割舍物业或许也是为了拯救信托等生意。
而今,张劲是否还会回想起当年他自己的意气风发的承诺:“可能有些公司连一分钱也收不回来了,我也要给你们兑付!”


责任编辑:张玫